Ford запатентовал ремни с подогревов

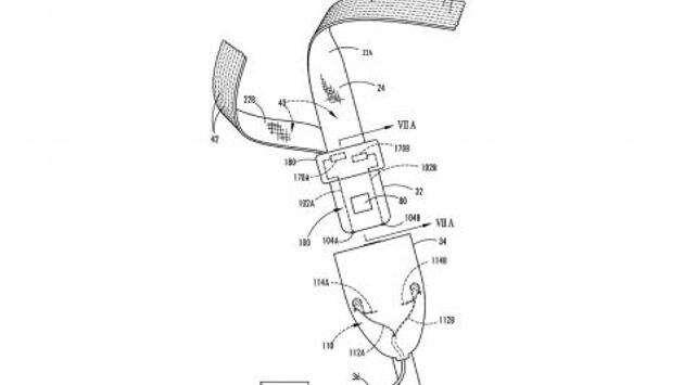
Компания Ford запатентовала дизайн и конструкцию ремней безопасности с подогревом. Соответствующую заявку американский производитель подал в Бюро по патентам и товарным знакам США. В 31-страничном документе описан принцип работы электрического подогрева, интегрированного в тканую часть ремня безопасности. Конструкция представляет собой фиксатор, подключенный к источнику питания, цепь в котором замыкается при помощи язычка ремня. Обогрев осуществляется за счет нагревательных элементов, расположенных между слоями тканого материала. Компанией предусмотрено несколько вариантов дизайна фиксатора и самого ремня. Ранее Ford описал цилиндрический пассажирский отсек для беспилотников, который может поворачиваться относительно базы автомобиля. Отсек состоит из куполообразной крыши и боковых стен-сегментов. Их можно сдвигать для доступа внутрь машины, а также откидываться вниз. В патентной заявке также упоминается выдвижной стол, оснащенный подушкой безопасности, и складные кресла, установленные на подвижном пьедестале. В прошлом году Ford запатентовал сложную систему подсветки эмблемы для Lincoln. В логотип компания предложила встроить множество разноцветных светодиодов, чтобы использовать их как индикатор дистанционного запуска двигателя или в качестве дополнения к дневным ходовым огням. Источник: U.S. Patent and Trademark Office

Ford запатентовал ремни безопасности с подогревом
© Motor.ru